270亿理财“血本无归”?私募托管史上最大危机来了
2018-07-24 19:35:00
栏目 : 理财
围观 : 次
评论
270亿理财"血本无归"?上海银行紧急澄清!私募托管史上最大危机来了
今天中午传出一则大消息,把午睡的基金君一下子吓醒了。
有人在微信朋友圈散布关于“上海银行270亿理财基金,100万起购,血本无归”的信息,并被广泛传播。

投资人大闹上海银行
今天很多人跑到了上海银行,因为买了踩雷的产品。

现场投资者穿着的衣服后面印着“严惩阜兴”,也就是前不久刚跑路的私募。
投资者踩雷意隆财富
6月27日,就有消息称上海意隆财富所属的母公司阜兴集团已人去楼空,从而引发投资者进一步恐慌。
公开资料显示,意隆财富作为一家私募基金管理机构,单笔涉案金额巨大,据自媒体互金侦探报道,投资意隆财富的都是高净值客户,最少100万起投,就在意隆财富爆雷之前还有客户购买5000万理财产品。
一位投资者刚投了200万资金进去,然后平台就爆雷。
意隆财富曾在官网大肆宣传,自称为国内领先高端资产管理机构,专为高净值人士提供卓越的资产管理服务,并依托投资方上海阜兴集团强大产业平台,借助多元化的综合产业布局,从而拥有更强大的风险抵抗能力。
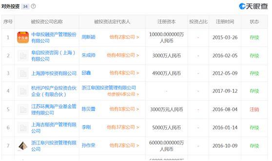
天眼查信息显示,阜兴集团对外投资的企业有34家,控股的企业有44家。
其中上海意隆财富投资管理有限公司、上海西尚投资管理有限公司、上海郁泰投资管理有限公司和易财行财富资产管理有限公司均为阜兴集团的控股企业,朱一栋为实际控股人。

四只私募基金的实际控制人失联













